Universal Yapısal Baglantı Braketi
Universal tasarım, tek ürünün betona, ahşaba, çelik konstrüksiyona veya I kirişi bağlantı adaptörüne doğrudan takılmasını sağlar. Kopmalı cıvata başı, sismik askıların kolayca kurulup kontrol edilmesini sağlar.
• Universal Yapısal Bağlantı Elemannın seçilen yapısal elemana monte edin (beton, Çelik Konstrüksiyon Bağlantı Adaptörü, l Kiriş Bağlantı Adaptörü veya diğer bağlantı elemanları).
• Askı borusunu takın ve kesme cıvatasını, başı kopana kadar sıkın.
• Malzeme : Çelik
• Kaplama : Elektro Galvaniz
• Onay : UL - FM , HCAI Onaylı
• Dogrudan betona, ahsaba, çeliğe, bar kirişine (bar joist) veya I-kiriş adaptörlerine baglanabilir.
• Entegre açı göstergesi, destek elemanının montaj açısını kolayca gösterir.
• Kopma baslı cıvata, sismik askı montajını ve denetimini kolaylaştırır.
• 1" ila 2" (25,4 mm – 50,8 mm) destek boruları ile uyumludur.
• Düsük profilli yapısı, beton ankrajları üzerindeki kaldıraç etkisini en aza indirir.
• Sismik uygulamalar için NFPA® 13 standardını karşılar.

|
Kod Code |
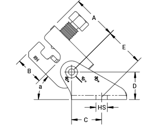
A (mm) | B (mm) | C (mm) | D (mm) | E (mm) |
Delik Çapı Hole Size (mm) |
| 3100404407 | 52 | 33 | 35 | 32 | 44 | 13 |
| 3100404408 | 52 | 33 | 35 | 32 | 44 | 206 |
| 3100404409 | 52 | 33 | 35 | 32 | 44 | 175 |
UL Yükleri / UL Loads
| Kod/ Code | Dayanım Rating |
| 3100404407 | 8896 N |
| 3100404408 | 8896 N |
| 3100404409 | 8896 N |
FM Yükleri / FM Loads
| Kod / Code | Dikey Kurulum Açısı Başına Yatay Kapasite Horizontal Capacity per Installation Angle From Vertical |
|||
| 30° - 44° | 45° - 59° | 60° - 74° | 75° - 90° | |
| 3100404407 | 7510 N | 9830 N | 11830 N | 13740 N |
| 3100404408 | 6580 N | 9830 N | 11830 N | 13740 N |
| 3100404409 | 6580 N | 10180 N | 12770 N | 13740 N |



