Çelik Konstrüksiyon Bağlantı Adaptörü
I-kirişlerin veya bar kirişlerinin üst veya alt flanşına monte edilir.
• Yayı geri çekin ve çelik konstrüksiyon üzerinde adaptörü takacağınız noktayı seçin.
• Yayı bırakarak çelik konstrüksiyonu kavramasını sağlayın. Cıvataları elinizle sıkarak adaptörü yerine sabitleyin.
• Cıvataları, başları kopana kadar sıkın.
• Malzeme : Çelik
• Kaplama : Elektro Galvanz
• Onay : UL -FM, HCAI Onaylı
• I-kirişlerinin veya bar kirişlerinin üst veya alt flanşına monte edilir.
• Basparmak yaylı tutucu, pozisyonlamayı kolaylaştırır.
• Yapısal Baglantı Adaptörü ile önceden monte edilmiş olarak temin edilebilir, sahada montaj gerektirmez.
• Kopma baslı cıvata, sismik askı montajını ve denetimini kolaylastırır.
• Sismik uygulamalar için NFPA®-13 gerekliliklerini karsılar.

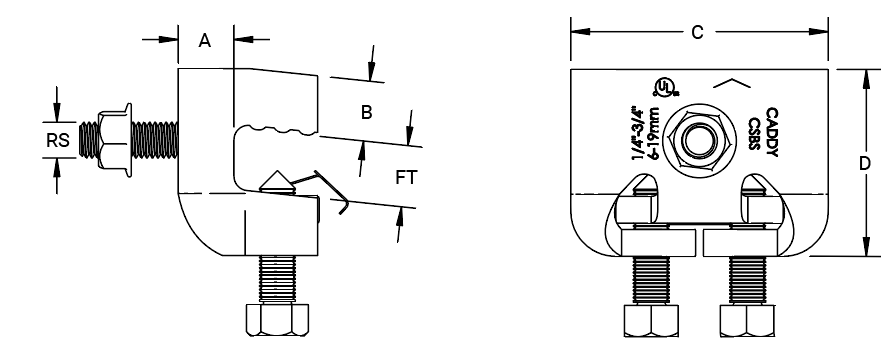
| Kod Code |
Flanş Kalınlığı Flange Thickness |
Vida Çapı Screw Size (Sc) |
A (mm) | B (mm) | C (mm) | D (mm) |
| 3100404354 | 635 -1905 mm | 1/2" | 21 | 23 | 92 | 67 |
UL Yükleri / UL Loads
| Flanş Kalınlığı Flange Thickness |
Destek Borusu Brace Member |
Dayanım Rating |
| 6-8 mm | DN25-DN50 Sch 40 | 6672 N |
| 8-19 mm | DN25-DN50 Sch 40 | 7561 N |
FM Yükleri / FM Loads
| Askılama Yönü Brace Type |
Dikey Kurulum Açısı Başına Yatay Kapasite Horizontal Capacity per Installation Angle From Vertical |
|||
| 30° - 44° | 45° - 59° | 60° - 74° | 75° - 90° | |
| Dikey / Perpendicular | 3780 N | 7910 N | 12320 N | 12630 N |
| Paralel / Parallel | 3910 N | 6360 N | 8980 N | 10720 N |



